カミナシレポート

管理画面でレポートを検索する

カミナシレポート 管理画面と記録アプリ両方でレポートを検索できます。この記事ではカミナシレポート 管理画面での操作方法をご紹介します。

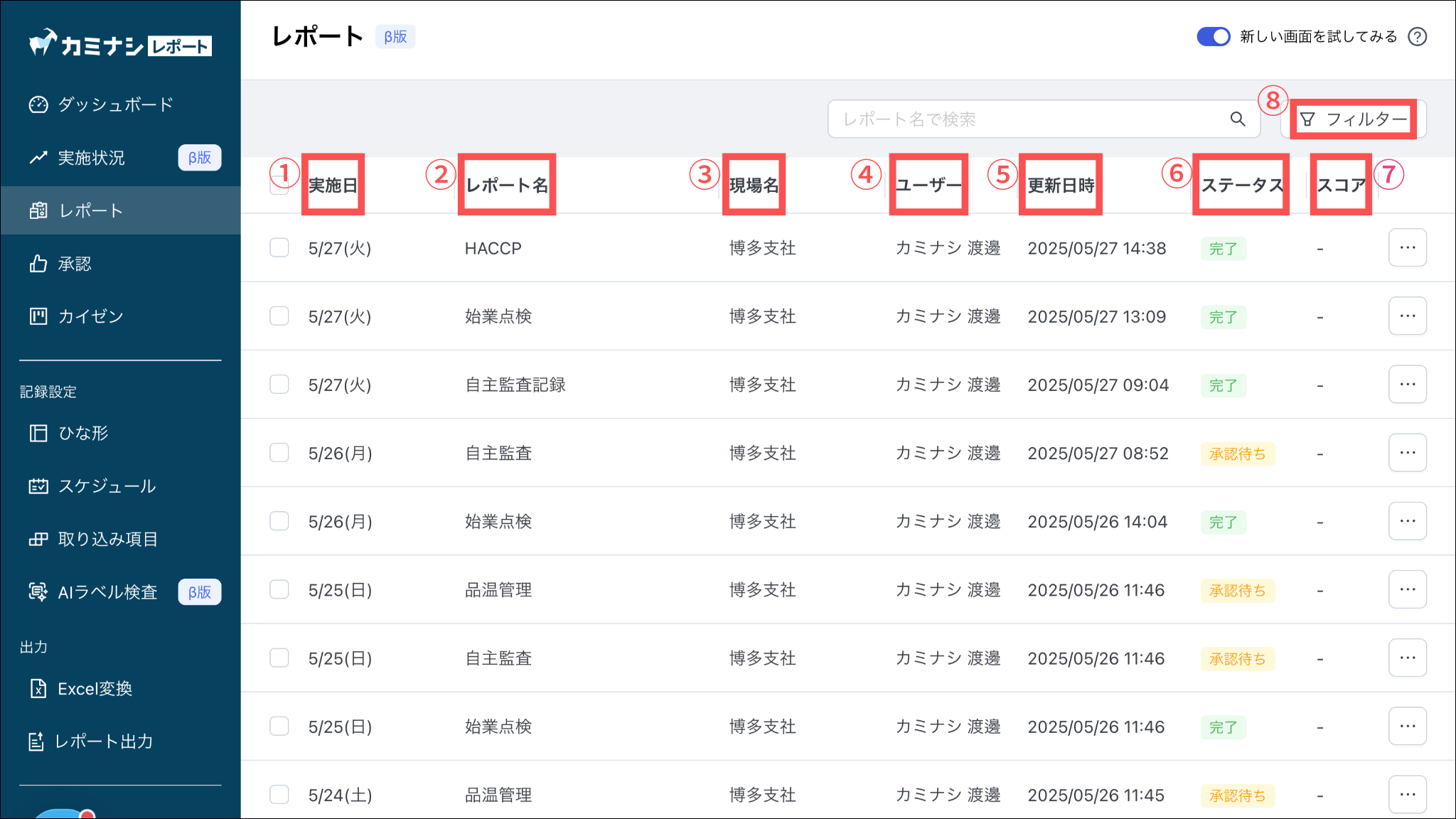
以下の項目が表示されます。

①実施日

レポートをいつ記録したのか、以下のルールに沿って日付が表示されます。

■「スケジュール」からレポートを作成した場合

  • 1日で終わるレポート:そのスケジュールの当日が表示されます。

  • 日をまたぐレポート:「開始時刻のあった前日」が表示されます。

  • 期間スケジュール(期限内に記録を始めたとき):最初に保存(一時保存や提出)した日が表示されます。

  • 期間スケジュール(期限を過ぎてから記録したとき):その期間が終わった最終日の日付が表示されます。

■「ひな形」からレポートを作成した場合

  • 最初に保存(一時保存や提出)した日の日付が表示されます。

②レポート名

レポートの名前が表示されます。

ルールから外れた回答(逸脱)がある場合は、赤い文字で「逸脱」と表示されます。

③現場名

レポートを作成した現場の名前が表示されます。

④ユーザー名

レポートを最初に保存(一時保存・提出)したユーザーの名前が表示されます。

後から別のユーザーが編集し保存しても、表示は変わりません。

⑤更新日時

最後にレポートを更新(一時保存・提出)した日時が表示されます。

⑥ステータス

「記録中(一時保存)」「承認待ち」「差し戻し」「完了」の4つのうち、いまどのステータスかが表示されます。

⑦スコア

配点機能を使ったレポートのみ、スコアが表示されます

初期状態では、実施日が直近1ヶ月のレポートが表示されます。

表示期間を変更する場合は、「開始日」と「終了日」を選択してください。

なお、表示できる期間は最長で3ヶ月分までです。

レポート名を入力後、エンターを押してください。

以下の項目をそれぞれ組み合わせて検索することができます。

  • 現場名:ログイン中のユーザーが「所属している現場」、「所属している現場グループ配下の現場・現場グループ」を指定します。

  • 逸脱有無:レポートの逸脱の有無を指定します。

  • ステータス:「記録中」や「完了」などステータスを指定します。

  • 従業員:質問の中に回答形式「従業員」があるレポートの場合、特定の従業員を指定します。

  • 検索キー:前に登録した検索キーを追加し指定します。検索キーを用いた検索詳細については、「回答検索を理解する」をご参照ください。

よくある質問は、こちらからご確認ください。