ログイン中のユーザーの承認対象レポートが初期状態で直近1ヶ月分表示されます。
直近1ヶ月以前のレポートはフィルターで期間を指定します。
フィルターで指定することができるレポート期間は、最大で3か月分(92日分)です。
逸脱項目があるレポートはチェックボックスが表示されず、一括承認できません。
よくある質問は、こちらからご確認ください。
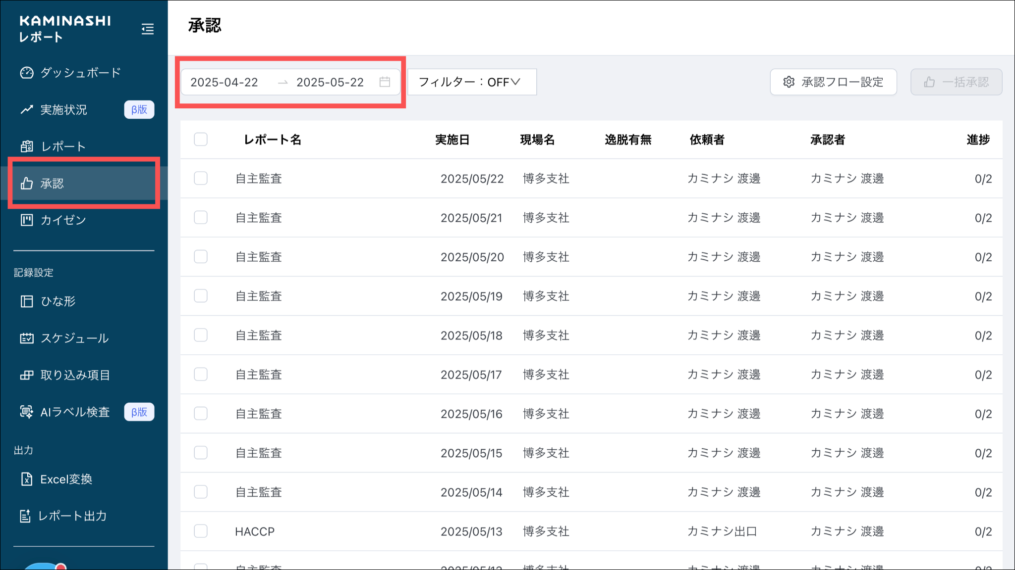
ログイン中のユーザーの承認対象レポートが初期状態で直近1ヶ月分表示されます。
直近1ヶ月以前のレポートはフィルターで期間を指定します。
フィルターで指定することができるレポート期間は、最大で3か月分(92日分)です。
逸脱項目があるレポートはチェックボックスが表示されず、一括承認できません。
よくある質問は、こちらからご確認ください。