MAXHUB│XBar U50 マニュアル

インターフェース

ナイスモバイル • MAXHUBサポートチーム2025-09-02

Front

Right

Back

  1. カメラ:デュアルレンズカメラ

  2. インジケーターライト※1

  3. 電源ボタン:電源オフ時は1回押すと起動します。電源オン時は5秒間押し続けると再起動します。電源を切る場合は電源ケーブルを抜いてください。

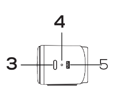
  4. リセットキー:5秒間押すと工場出荷状態に戻ります。

  5. USB Type-A:ファームウェアの更新やデバッグログの取得に使用できます。

  6. USB Type-B:USB B to Aケーブルを使用してPC等と接続できます。

  7. DC IN: 電源接続端子

  8. セキュリティスロット

  9. RJ45将来の拡張用

※1 インジケーターライトの仕様

白:起動時、スタンバイ時

緑点滅:着信中

緑:通話中

赤:マイクミュート

白点滅:ファームウェアアップデート中