MAXHUB│ XBar V50 Kit

インターフェース

ナイスモバイル • MAXHUBサポートチーム2025-09-22

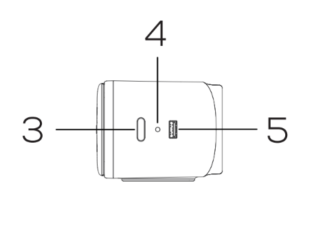
Front

Right

Back

  1. カメラ:デュアルレンズカメラ

  2. インジケーターライト※1

  3. 電源ボタン:5秒間押すと再起動します。

  4. リセットキー:5秒間押すと工場出荷状態に戻ります。

  5. USB Type-A :ファームウェアの更新やデバッグログの取得等に使用できます。

  6. HDMI In:画面共有に使用できます。

  7. HDMI Out:ディスプレイへの接続に使用できます。

  8. USB Type-B:USB B-Aケーブルを使用してBYODに使用できます。

  9. DC IN: 電源接続端子

  10. セキュリティスロット

  11. Audio In:外部オーディオデバイスとの接続に使用できます。サウンドバー内蔵マイクとの同時利用はできません。

  12. RJ45(Internet):ネットワーク接続用

  13. RJ45(M Link):AP30へネットワーク共有とPoE給電ができます。

  14. Audio Out:外部オーディオデバイスとの接続に使用できます。サウンドバー内蔵スピーカーとの同時利用はできません。

※1 インジケーターライトの仕様

白:起動時、スタンバイ時

緑点滅:着信中

緑:通話中

赤:マイクミュート

白点滅:ファームウェアアップデート中

  1. タッチスクリーン

  2. モーションセンサー

  3. セキュリティスロット

  4. RJ45:ネットワーク接続用、XBar V50との接続用

  5. RJ45将来の拡張用

  6. DC IN: 電源接続端子

  7. USB Type-C:画面共有に使用できます。

  8. USB Type-A:ワイヤレスドングルのペアリングに使用できます。

  9. スピーカー