MAXHUB│ XBar V50 Kit

XBar V50の取り付け

ナイスモバイル • MAXHUBサポートチーム2025-09-29

取付部品一覧 

クリップマウントとクリップネジは本製品では使用しません。

取り付けには別途プラスドライバーが必要です。あらかじめご用意ください

(1)XBar V50とディスプレイの距離を1cm以上離してください。

(2)設置高さに応じて、XBar V50の取り付け位置を確認してください。

(1)取り付け位置に位置決めガイドを置き、マーキングしてから4か所に穴を開けてください。

穴径:6mm 穴深さ:32mm

(2)4本のアンカー (c)を穴に差し込んでください。

(3)ブラケットを壁から90度の角度に開き、4本の壁ネジ(d)でアンカーに固定してください。

(4)

・ディスプレイの下に設置の場合

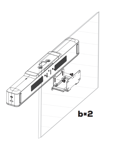
ブラケットの下側から2本の蝶ネジ(b)で本機を固定してください。

・ディスプレイの上に設置の場合

下記絵のようにブラケット底部を90度開き、2本の蝶ネジ(b)で本機を固定してください。

固定した後、XBar V50とブラケットを90度回転させてください。

(1) 下記絵のようにブラケット底部を90度開き、接合部の4本のネジを外して、ブラケットをAとBの2つの部品に分解します。

(2) パーツAを180度回転させた後、接合部に4本のネジを挿入し、しっかりと締めてください。

(3) 組み立てたブラケットとXBar V50を2本の蝶ネジ(b)でしっかり固定してください。

(4) パーツBを90度回転させ、ブラケットがXBar V50の底面と水平になるように調整してください。

(1) 下記絵のようにブラケット底部を90度開き、接合部の4本のネジを外して、ブラケットをAとBの2つの部品に分解します。

(2) パーツAを180度回転させた後、接合部に4本のネジを挿入し、しっかりと締めてください。

(3)クリップネジ(a)で、クリップマウントをブラケットに固定してください。

(4)組み立てたブラケットとXBar V50を2本の蝶ネジ(b)でしっかり固定してください。

(5)クリップマウントの両面テープの剥離フィルムをはがし、ブラケットをテレビの背面に取り付けてください。

  1. 両面テープを貼り付ける部分は、あらかじめ汚れや油分を取り除き、きれいな状態にしてください。

  2. 貼り付ける部分は、両面テープのサイズより広く、平らな面を選んでください。

カメラの映像に合わせて、ブラケットの角度を上下それぞれ10度以内で調整してください。