RECOREの対象メニューより買取依頼者(仕入取引先)の銀行口座へ送金依頼ができます。
これにより、商品の査定・仕入から査定金額・仕入金額の支払い依頼までをケース内で完結することができ、店舗スタッフや経理担当者より送金手続きを行う手間を省くことが可能となります。
・店頭買取
・宅配買取
・一般仕入
・委託仕入
以下の指定の銀行口座の開設や連携に必要なお手続き方法をご案内させていただきますので、弊社営業担当へご相談ください。
お問合せの際には、以下を併せてお知らせください。
内容:GMOあおぞらネット銀行との連携して振込処理したい
RECORE契約企業名:
ご担当者様名:
電話番号:
メールアドレス:
GMOあおぞらネット銀行
GMOあおぞらネット銀行
「すべてはお客さまのために。No.1テクノロジーバンクを目指して」をコーポレートビジョンに掲げ、サービスを提供して参ります。

GMOあおぞらネット銀行

必ず弊社の営業担当までご連絡をお願いいたします。
なお、GMOあおぞらネット銀行において口座をお持ちいただいているのみでは、連携を行うことができません。
No | 項目 | 説明 |
|---|---|---|
1 | 送金システム連携とのについて | RCOREとGMOあおぞらネット銀行の振込連携をご希望される場合は、法人口座の開設と連携に必要なお手続きや準備が必要となります。 詳細は担当営業までお問い合わせください。 申し込み費用は無料となります。 |
2 | 振込手数料について | 買取依頼者への振込手続料は、別途、GMOあおぞらネット銀行よりお客様へご請求されます。 |
GMO振込手数料や受付について(法人口座)
総合振込・一括振込 | 商品・サービス一覧 | 法人口座の開設
GMOあおぞらネット銀行法人口座の総合振込・一括振込について。「すべてはお客さまのために。No.1テクノロジーバンクを目指して」をコーポレートビジョンに掲げ、法人のお客さまに最適なサービスを提供して参ります。

GMOあおぞらネット銀行

以下の①~③に関する事前のAPI連携に必要な手続きに関する詳細は、以下のガイドをご参考ください。
GMOあおぞらネット銀行API連携ドキュメント
本ヘルプガイドはReCOREとGMOの連携サービスの概要、連携手順について説明します
GMOあおぞらネット銀行

貴社よりGMOあおぞらネット銀行において、法人口座をの開設を行います。
GMOあおぞらネット銀行「法人口座開設」
法人口座の開設
法人口座の開設はGMOあおぞらネット銀行へ!他行宛て振込手数料一律145円/件と安価な料金でご提供。条件を満たせば最短即日法人口座開設が可能です。

GMOあおぞらネット銀行

銀行より口座開設完了の旨ご連絡後に、貴社より銀行へAPI接続のためのメール連絡と申込手続きを行います。
貴社と弊社において、銀行からのAPI連携のテスト環境を元に接続テスト実施します。
・【設定>設定】メニューより【外部連携設定】をクリックし、【GMOあおぞらネット銀行】項を開く
・銀行より送付のAPI連携接続情報通知書に表示されている【クライアントID】【クライアントシークレット】を入力
・【リフレッシュトークンを取得】ボタンをクリックすると、GMOにログイン画面い遷移するため、そこで【クライアントID】と【パスワード】を入力
・しばらく後に【リフレッシュトークン】欄へ反映します。
各項目の入力と反映後、【保存する】をクリックして設定内容が正しければ連携が『有効』になります。
リフレッシュトークン取得の際には、GMOあおぞらネット銀行へログインされ、必ず連携される承認者のIDとパスワードを入力してください。
あらかじめ、GMOあおぞらネット銀行において、振込の承認者と承認のメールトークンを受付するメールアドレスとして対応されるID(マスタIDまたはクライアントID)の承認設定が正しく設定されているかどうか確認を行ってください。
GMO連携時のクライアントID | 説明 |
|---|---|
取引責任者 | GMOにおいて取引責任者のIDに登録されているメールアドレスに承認メールが届くので、そちらにて承認手続きが必要です。 インターネットバンキングにログインし、承認する必要はありません。 なお、GMO管理画面よりユーザーIDの登録やユーザーに対するグループ設定(承認権限)は必須ありません。 |
取引責任者以外の方 | GMO管理画面より新たなユーザー登録とそのユーザーに対するグループ設定に承認権限の付与などの設定が必ず必要です。 ※取引責任者ではないIDの場合でも、承認権限のあるIDにて振込リクエストを行い、 自己承認限度額の範囲内の振込の場合は、メールでの承認となり、簡素化した承認フローとなります。 取引責任者以外の方のID発行や登録については、以下のGMO側の解説をご参考のうえ、ご対応ください。 ▼GMOサイト:取引責任者以外の従業員へ、取引の承認など権限を設定したい https://help.gmo-aozora.com/faqs/6686541cefe214ffd6342ab8/ こちらの設定方法について、ご不明な点がございましたら、GMO側へお問合せいただきますようお願いいたします。 |
なお、RECOREでは各メニューのケースを振込依頼後、会計メニューより振込実行を行うことで銀行システムから承認メールが送信され、承認後に最終的に振込が実行されます。
こちらでは、店舗スタッフより振込依頼を行う方法を解説します。
ケース毎にケースの詳細内容を確認のうえ、1件づつ依頼を行う方法です。
・【宅配買取】・【一般仕入】の【ケースリスト】画面より【買取コード】・【仕入コード】をクリック
ケース詳細画面の【銀行振込】タブより【振込処理を行う】をクリック
店頭買取、宅配買取の場合
エンドユーザーより査定承諾確認後以降に、【振込操作を行う】ボタン操作のクリックが可能になります。
【振込処理】画面より各情報を入力し、内容を確認のうえ【振込依頼を登録する】をクリック
各項目については、【振込処理】画面の各項目についてを参照ください。
項目によっては、あらかじめの登録情報や顧客が事前に本人確認時に入力されている情報または会員登録されている情報が表示されます。
振込処理の登録後は、ステータスが『振込実行待ち』になります。
『振込実行待ち』ステータスの際、【店頭買取】【一般仕入】で返品が発生した場合、振込金額には返品情報は反映されません。
以下に対応方法をそれぞれ記載いたしますのでご参照ください。
返品が発生した場合:買取・仕入ケース内の銀行振込の依頼IDにあるごみ箱マークをクリックして振込情報を削除します。
一部返金が発生した場合:買取・仕入ケース内の銀行振込の依頼IDにある鉛筆マークをクリックして振込内容を変更します。
No. | 項目 | 説明 |
|---|---|---|
1 | 振込元口座(必須) | RECOREと連携中のGMOあおぞらネット銀行の銀行口座名が自動で表示されます。 |
2 | 振込元名義(任意(空白可)) | 貴社名・店舗名など振込元の名前を入力します。 |
3 | メモ(任意) | 振込に際しての注意事項があれば記載します。空白可。 振込実行の際の参考情報としてRECORE上の表示のみ |
4 | 振込先銀行(必須) | ・顧客が事前に本人確認時に入力されている情報または会員登録されている情報が表示されます。 ・振込先の銀行名を入力すると、銀行名の選択肢が表示されます。
|
5 | 振込先支店(必須) | ・顧客が事前に本人確認時に入力されている情報または会員登録されている情報が表示されます。 ・振込先の銀行の支店名を入力すると、支店名の選択肢が表示されます。 |
6 | 振込先口座(必須) | ・顧客が事前に本人確認時に入力されている情報または会員登録されている情報が表示されます。 ・振込先の口座番号を7桁の半角数字で入力します。 |
7 | 振込先名義(必須) | ・顧客が事前に本人確認時に入力されている情報または会員登録されている情報が表示されます。 ・振込先の口座名義を全角ひらがな・カタカナで入力します。 |
8 | 振込金額(必須) | ・各ケースの買取・仕入金額が表示されます。 ・金額を半角数字で入力します。 |
上記のステータスの場合は、内容を修正・削除することが可能です。
鉛筆マークをクリックし、【振込処理】画面を開き変更の修正が可能です。
ごみ箱マークをクリックし、【振込処理】内容を削除することが可能です。
各ケースリスト画面より依頼するケースをまとめて依頼を行う方法です。
【宅配買取>ケースリスト】画面の【詳細検索】より【ステータス】『入庫完了』を指定のうえ、検索します。
※その他に【買取確定日】へ買取期間を指定して対象ケースをより絞り込むことが可能です。
対象ケースの左側のチェックボックスを選択します。
▼表示の全ケースを選択する場合
チェックボックスの一番上のボックスをクリックすることで、表示される全ケースが選択されます。
選択のうえ、【全○件を一括操作】より【一括振込依頼】をクリック
画像のように選択した件数分の依頼作成の確認メッセージが表示され、間違いないことを確認のうえ【作成する】をクリック
振込依頼の結果として、以下の各件数が表示されます。件数をクリックすると、各ケースの一覧が表示されます。
状況:依頼処理が完了した件数
エラー:振込依頼の内容に不備があり依頼されていない件数
スキップ:既に振込依頼済により依頼が不要である件数
エラーの一覧【ケースリスト】画面より、【買取コード】・【仕入コード】をクリックしてケースの詳細状況を確認します。
必要に応じてケース内容の振込情報を追記するなど訂正のうえ、再度依頼を行います。
・ケースの買取金額(仕入金額)が『0円』の場合も振込依頼が不要なため、こちらに含まれます。
店舗スタッフから振込依頼を受けて、支払いの承認を行う店舗責任者・経理担当者などから振込の実行を行います。
【会計】メニューの【銀行振込一覧】をクリック
ステータス『振込実行待ち』より対象ケースを確認
▼ケースの詳細内容を確認する場合
【関連】に表示されるケースコードをクリックすると、詳細ケース画面より【銀行振込】タブのにある「依頼ID」の鉛筆マークをクリック
依頼IDの左側にあるチェックボックスを選択します。
【全○件一括操作】より【振込実行】
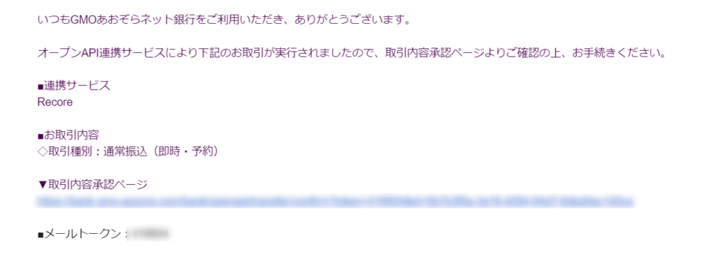
・GMOあおぞらネット銀行より承認者のメールアドレス宛に承認確認メールが送信されます。
・取引内容承認ページにあるリンク先をクリックのうえ、「メールトークン」と「取引パスワード」を送信して承認します。
なお、GMOのトークンの有効期限は10分です。10分以上経過後は別途GMO管理画面より振込承認の実施を行ってください。
振込実行完了後は、RECOREの【銀行振込一覧】においてステータスが『振込完了』に遷移し、振込処理は完了です。
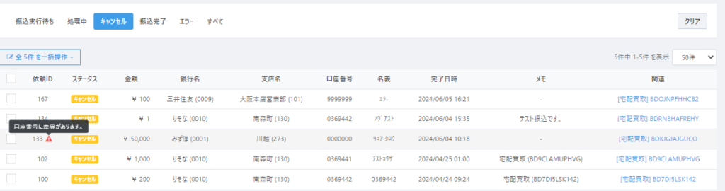
次のような状況によりステータスが『キャンセル』と表示されます。
・承認者によりメールトークンが有効な時間内に承認されない
・依頼をキャンセルした場合
★依頼IDに注意マークが表示されている場合
カーソルをマークに合わせることで、再確認が必要な内容が表示されます。
内容を確認のうえ、改めて振込手続きを改めて実行する場合
①【銀行振込一覧】画面の一番右にある【関連】項に表示されるケースコードをクリック
②該当ケース詳細画面の【銀行振込】タブより新たに【振込処理を行う】をクリック
③新たな【振込処理】画面で振込依頼を登録後、【会計>銀行振込一覧】より振込実行の操作行います。
詳しくは、同ガイドページ内の「Step1:振込依頼」を参照ください。
ステータスが『エラー』は、振込実行後に銀行側で振込実行が完了しなかったケースを表します。
ステータス『エラー』にカーソル合わせることで、振込実行されなかった要因が表示されます。
必要に応じた対応のうえ、改めて振込実行の操作を行います。
解説は以上です。
No | 事象 | ガイド |
|---|---|---|
1 | 設定 |
以下の内容を添えてRECOREのチャットよりお問合せください。
・操作画面
例:設定>外部連携設定>GMOあおぞらネット銀行
・具体的に実施した操作内容や設定、その後の状況
例:GMOあおぞらネット銀行で振込に必要な連携設定後、振込操作を起こったものの承認メールが送信されない。
GMO管理画面における操作設定に関するご質問につきましては、状況によりGMOあおぞらネット銀行へお問い合わせ をご案内する場合があります。
ご了承ください。