一般仕入は、法人企業から商品を仕入れる際に利用します。
一般仕入では、在庫の入庫と支払いの確定を別々のタイミングの処理することができるため、ケースリスト画面では各ケース毎に支払いの買掛状況を管理をすることも可能です。
画面右上に表示されるスタッフ名と店舗名を確認します。
・スタッフ名が操作対応者と異なる場合
スタッフコードをバーコードリーダーで読み取り、担当スタッフ情報の変更またはスタッフ名をクリックして【スタッフ切り替え】よりスタッフコード入力
・店舗名が異なる場合
店舗名右横の【V】をクリックして店舗名を選択します。
画面右上の三本線をクリックします。
【一般仕入】メニューより【新規仕入】をクリックします。
取引先企業が会員登録してあるかどうか確認のうえ、会員登録済の場合と会員未登録の場合に応じてそれぞれ対応します。
【会員情報】に該当する法人企業の【会員コード】または【会社名】を入力【検索】をクリックのうえ、該当する取引先を選択します。
登録されている会員を表示すると、次のように表示されます。
【仮会員を発行】ボタンをクリックして、会員登録を行います。
なお、取引完了後に【会員】メニューの【会員リスト】画面より会員コードを検索のうえ会員の詳細情報を登録することも可能です。
特定の取引先企業の状況に合わせて仕入商品の税込・税抜設定を変更は、次のように操作を行います。
税設定を変更したいケース右上にある【設定】をクリックします。
【設定】詳細画面には、【設定】メニューの本部設定の「消費税設定」で指定されている状況が表示されます。
各項目確認変更後、【×】ボタンで閉じます。
項目 | 詳細 |
仕入単価税 | 税抜:仕入単価を税抜金額で入力する場合 税込:仕入単価を税抜金額で入力する場合 |
小計調整税 | ケース内の販売金額を調整を以下から選択 税抜から:小計の税抜金額から調整する場合 税込から:小計の税込金額から調整する場合 |
仕入する商品情報を【仕入商品】に入力します。
「仕入商品の各項目について」の内容を踏まえ、入力時は以下のガイドをご参照のうえ、入力してください。
カタログを指定する方法ついて
本ガイドは、各商品を指定する際のカタログを指定する方法について解説します。

商品カタログに関しては、以下のヘルプガイドを参照ください。
商品カタログについて
本ガイドでは、商品カタログについて解説します。

No. | 項目名 | 入力形式 | 説明 |
1 | 数量(必須) | 半角数字 | 数量を入力 |
2 | 仕入単価(必須) | 半角数字 | 金額を入力 空白の場合:『0円』で反映 |
3 | 販売単価(必須) | 半角数字 | 金額を入力 空白の場合:『0円』で反映 |
4 | グレード(必須) | 選択肢より指定 | 選択肢『新品』『中古A』『中古B』『中古C』『中古D』『未使用』より指定 ※グレードについては、ガイド「グレードとは」を参照ください。 |
5 | 棚番号 (任意) | 選択肢より指定 または半角英数字で入力 | 事前に登録されている商品の状態を表すタグより指定が可能です。コンディションタグ項をクリックすることで候補が表示されますので該当するものを任意で選択します。 |
6 | コンディションタグ (任意) | 選択肢より指定 | 事前に登録されている商品の状態を表すタグより指定が可能です。コンディションタグ項をクリックすることで候補が表示されますので該当するものを任意で選択します。 |
7 | コンディション詳細 (任意) | 自由入力 | コンディションに関する特記事項や補足を入力 |
8 | 商品メモ (任意) | 自由入力 | 商品に関するスタッフ内部の情報を自由に記載が可能です。 ラベル・プライスカードには出力されません。 |
9 | 在庫属性を入力 | 各項目の属性設定により異なる | 貴社より【設定>在庫属性設定】へ設定した項目のうち、必須入力に指定の項目は表示されます。 任意の入力項目は【在庫属性を入力】ボタンをクリックして表示されるポップアップ画面より入力可。 |
【設定】メニューの【売買価格ルール設定】にて、カタログやカテゴリごとにルールを設定している場合、該当商品に対して【買/売推奨単価】が自動で表示されます。
金額の手入力の手間が省け、適正価格の設定がスムーズになります。
【買/売推奨単価】クリックにより、【仕入単価】【販売単価】に推奨価格が反映されます。
反映内容を変更する場合は、【仕入単価】【販売単価】項目に直接金額を入力します。
【仕入単価】・【販売単価】を入力後に、 【買/売推奨単価】右ヨコにあるフロッピーアイコン(保存ボタン)をクリックすることで、ルールが新たに作成保存もしくは更新されます。
仕入商品における各商品登録の表示について
売買価格ルール設定のある商品は、仕入商品に入力後の【買/売推奨単価】の下に登録の最新日時が表示されます。
売買価格ルール設定に関する詳細は、以下のガイド内容も参照ください。
売買価格ルール設定について
本ガイドでは売買価格ルール設定について解説します。
ユーザーヘルプサイト

次に、補足事項がある場合は項目右側のコンディション情報を入力します。
コンディションタグ:事前に登録されている商品の状態を表すタグです。
コンディションタグ項をクリックすることで候補が表示されますので該当するものは、任意で選択します。
コンディション詳細:自由に記載が項目です。特記事項や補足をご記入します。
プライスカードに出力が可能です。
商品メモ:スタッフ間の共有情報を自由に記載することが可能です。
ラベル・プライスカードには出力されません。
多数の種類の商品を買取する場合は、Excelデータでの一括登録をおすすめいたします。
仕入商品インポートは、一度に1,000件までかつデータ容量10MB未満です。
一度の上限を超えて登録する場合は、データを分割のうえ複数に分けてインポート操作を行ってください。
仕入商品【商品をエクスポート】をクリック
『Excel・Googleスプレッドシート用のファイル』を【エクスポートする】をクリックうえ、フォーマットをダウンロードします。
▼ダウンロードしたフォーマット
ID/商品コード/JANコード/商品名/数量/重量/仕入単価/販売単価/グレードID/コンディションタグID/コンディション詳細/商品メモ/棚番号/※【設定>在庫属性設定】により追加されている項目がある場合は、その項目が表示されます。/ハッシュ
商品(データ)をインポートでは、「仕入商品データのインポート項目について」を参考ののうえ、最低限必須の情報とその他入力されたい情報を各項目を入力し保存します。
仕入商品の【商品をインポート】ボタンをクリック
以下を指定のうえ、【インポートする】をクリックしインポートすると、しばらく後に完了結果が表示されます。
ファイル:保存したデータ
フォーマット:Excel・Googleスプレッドシート用のファイル (.xlsx)
インポートされた商品データは、次の画像のように表示されます。
入力内容に誤りがあった場合
画面右上のベルマークにエラー通知が表示されます。
エラー詳細の表示内容『〇行目のどの項目に入力の誤り』を参考のうえ、データを修正し後に改めてインポート操作を行ってください。
カタログインポート時にエラーが表示される場合の対応方法
本ガイドでは、CSVでカタログや在庫インポート時に表示されるエラーについて解説します。

以下の3つの項目より、いずれか1つを必ず必須入力。
【商品コード】:
既にRECORE上に存在するカタログを利用する場合は、必ずカタログコード(PDコード)を入力
【JANコード】:
RECOREのマスタ情報が存在していた場合にその情報を引用したい場合は、商品のJANコードを入力
【商品名】:
商品コード、JANコードのどちらも分からない場合は、商品名を入力することで、新たにカタログを登録
NO | 項目 | 入力形式 | 詳細 |
1 | ID | 数値 | 新規登録の場合:空白 更新の場合:出力データそのままの値を変更せずインポート |
2 | 商品コード ※注意点を参照 | 半角英数字 | 既にRECORE上に存在するカタログを利用する場合は、必ずカタログコード(PDコード)を入力 |
3 | JANコード ※注意点を参照 | 半角英数字 | RECOREのマスタ情報が存在していた場合にその情報を引用したい場合は、商品のJANコードを入力 |
4 | 商品名 ※注意点を参照 | 自由入力 | 新たにカタログ登録する場合のみ入力 |
5 | 数量(必須) | 半角数字 | 数量を入力 |
6 | 重量 (任意) | 半角数字 | 「量り買い」設定の商品の場合のみ 数量を入力 |
7 | 仕入単価 (必須) | 半角数字 | 金額を入力 空白の場合:『0円』で反映 |
8 | 販売単価 (任意) | 半角数字 | 金額を入力 空白の場合:『0円』で反映 |
9 | グレードID (必須) | 選択肢より指定 | 指定したいグレードのグレードIDを入力 新品『1』、中古A『2』、中古B『3』、中古C『4』、中古D『5』、未使用『6』のいずれかの数字を入力 ※グレードについては、ガイド「グレードとは」を参照ください。 |
10 | コンディションタグID(任意) | 半角数字 | 事前に登録されている商品の状態を表すタグより指定可。 指定したい場合はコンディションタグIDを入力 |
11 | コンディション詳細 (任意) | 自由入力 | 商品状態に関して特記事項があれば入力 |
12 | 商品メモ(任意) | 自由入力 | 商品に関するスタッフ内部の情報を入力 ※お客様には開示しない情報 |
13 | 棚番号 (任意) | 半角英数字 | 買取確定後の在庫に対して棚番号を付与したい場合に入力 |
14 | 単品不成約 | ー | 更新の場合:該当商品が単体で不成約の場合は『不成約』と表示されます。 |
15 | 在庫属性 【設定>在庫属性設定】より追加された項目がある場合に表示あり | 各項目の属性設定により異なる | 貴社より設定されているルールに従って入力 |
16 | ハッシュ (更新の場合:必須) | ー | 新規作成の場合:空白 更新の場合:エクスポート時に出力された内容に変更せずそのまま保持 |
グレードとは
本ガイドでは、各在庫のグレード(状態)について解説します。

データのインポート操作時エラー「attiribute.janに正しい形式を指定してください」の対応方法
本ガイドでは各メニューより操作できるインポート操作時に表示されるエラーについて対応方法を解説します。

更新の際は既に表示されている内容を変更しないようご注意ください。
入力内容を変更すると更新することができません。
取引企業から大量に仕入れる際、仕入れたダンボール(ケース)にあらかじめ棚番号が付与された状態で仕入処理を行うケースもあります。
スムーズに管理するために、「ケースラベル」や「棚番号ラベル」を発行し、各ダンボールに貼付しておくことを推奨いたします。
ケースラベルには、ケースコードや棚番号のバーコードが印字されており、仕入商品を保管する際にラベルを貼ることで、以下のようなメリットがあります。
仕入れ後、在庫ラベル発行時に「どのケースで仕入れたか」を即座に判別できる
商品とケースの紐付けが視覚的・物理的に明確になる
保管・棚入れ・ピッキング時の作業効率が向上する
仕入時からのラベリングを徹底することで、その後の在庫管理・棚卸・出品業務など全体の作業精度・効率の向上に繋がります。
該当するケースの右下にある【ケースラベルを印刷する】をクリックして、仕入ケースのケースラベルを発行します。
以下のガイドをご参照ください
棚入れについて | ユーザーヘルプサイト
棚入れについて - 公開日:2022年09月29日 - 更新日:2025年03月31日 - 在庫 - 棚番号 - 棚入れ 本ガイドでは、棚入れの操作について解説します。 棚入れ操作を行うことで在庫に棚番号を追加することができ、在庫の保管場所の特定を効率化することができます。 これにより例えば、店頭とECで併売されていた場合、EC受注された在庫のピッキング作業を効率的に行うことが可能です。 対象メニュー - カタログ・在庫 - 棚番号の確認方法と管理における注意点 - 棚番号バーコード印刷と貼り付け - 棚番号を追加したい商品を指定する - 棚番号を指定する - 棚番号の変更・削除 - その他 棚番号の確認方法と管理における注意点 在庫コード(ITコード)をクリックすると、在庫の詳細画面より棚番号を確認できます。 【注意点】 棚番号は複数の登録が可能ですが、同じ在庫コードの商品が複数あり、それぞれ違うロケーションにある場合、ロケーション毎に棚番号を登録することを想定しております。 上記以外での棚番号の複数登録の運用はなるべくお控えください。 ・棚番号が複数ある場合は、右側に表示されるもの
ユーザーヘルプサイト

登録商品を絞り込んで確認したい場合
インポート時に仕入・販売単価を未入力のまま登録した商品ごとに絞り込み、各金額を入力することが可能です。
以下の検索したい内容を指定のうえ、【絞り込み】クリックすると該当する商品が表示されます。
NO | 項目 | 詳細 |
1 | キーワード | キーワード「カタログ(PDコード)、在庫コード(ITコード)、商品名」で絞り込みたい場合は入力 |
2 | 棚番号 | 棚番号ごとに確認したい場合:棚番号を選択 |
3 | その他 | 各条件にあったものをクリックし、チェック |
なお、条件を解除したい場合は【リセット】ボタンをクリックします。
仕入商品は、ケース内の各ページ表示件数は最大50件です。
50件以上の内容を確認される場合
【>】または【>>】ボタンをクリックし次の表示へ切り替えることが可能です。
仕入商品を入力後、数量や金額に間違いがないかを確認します。
次の項目は、仕入確定前に必ず入力が必要です。
・数量
・仕入単価
・販売単価
・グレード
表示された画面で、各項目の編集が可能ですので、必要に応じて内容をご確認・修正ください。仕入確定前には、「仕入商品の各項目について」をご参照のうえ、入力内容に誤りがないか改めてご確認をお願いいたします。
仕入れ総額に対して値引きを行う場合は、【小計調整】に調整金額を入力します。
全て確認後に【入庫を確定する】ボタンをクリック
クリック後、次のような再確認メッセージが表示されますので問題なければ【OK】をクリックします。
以上で、仕入商品は入庫が確定され【在庫リスト】画面に反映されます。
入庫確定のみ確定した状態の各レポート反映について
在庫のみ入庫かつ未支払い状況の場合
ダッシュボード「買取」や経理レポート「買取詳細」に反映されておりません。
ダッシュボード「在庫」や経理レポート「在庫推移」に在庫が反映されます。
※在庫情報は、即時に反映されず1時間おきの更新となります。
入庫確定確定後に商品の【商品ラベルを印刷する】をクリックすると、ケースより入庫した全商品のラベルが印刷されますので、商品へ貼り付けます。
一部の棚番号の商品のみ印刷したい場合
【商品ラベルを印刷する】の右ヨコにある【一部】をクリックし、棚番号を選択して【印刷】をクリックします。
また、仕入後に在庫ラベルを発行する場合は、ケース内の絞り込みボタンから対象の【棚番号】を選択することで棚番号毎に在庫ラベルの発行を行うことが可能です。
【チェックアウト完了】画面より在庫ラベルを印刷する場合
在庫ラベルの【発行】ボタンをクリックすることで、買取商品の全ての在庫ラベルが印刷されます。
買取時の在庫ラベルの印刷について、各店舗ごとに【在庫ラベル印刷ルール設定】することができます。詳しくは、以下のガイドをご参考ください。
在庫ラベル印刷ルール設定について
本ガイドでは、在庫ラベル印刷ルール設定について解説します。

各在庫ラベル毎に必要枚数分を印刷されたい場合
【在庫リスト】画面より印刷行ってください。詳しくは、以下のガイドを参照ください。
在庫ラベルを印刷する方法
本ガイドでは在庫ラベルを印刷する方法について解説します。

一般仕入では、以下のような支払い確定が可能です。
・入庫と同時に支払い
・入庫とは別日に支払い(月末にまとめて支払いを含む)
本社より各店舗の支払う(同店舗の同じ端末以外から操作)場合
必ず【設定】メニューの【端末設定】より仕入ケースと同店舗の【レジID】より操作を行うようにしてください。
店舗の管理責任者や経理担当者より銀行振込の管理機能を使って振込依頼・処理を行う場合は、以下のガイド内容をご参照ください。
銀行振込の管理機能について
本ガイドではRECOREにおいて銀行振込状況を確認する方法ついて解説します。
GMOあおぞらネット銀行

入庫の確定が完了し、その場で支払いを行う
【支払いを確定する】をクリック
「支払い確定」画面において以下を指定後、確認のうえ【確定】ボタンをクリックして確定します。
NO | 項目 | 入力 | 詳細 |
1 | 支払い方法 | 選択肢より指定 | RECORE導入時にお客様より弊社へ連絡により設定した金種が表示 |
2 | 支払日 | 日時入力 | ケース作成日から操作現在までの日時のみ指定可 |
支払いが確定すると、次のように表示されます。
一般仕入の全てのケースが一覧で表示されます。
【詳細検索】をクリックして以下のように指定のうえ、【検索】ボタンをクリックします。
※以下を指定して絞り込むことも可能です。
ステータス(必須):『完了』
支払いステータス(必須):『未支払い』
仕入確定日(任意):入庫日
スタッフコード(任意):対応スタッフのスタッフコード
仕入商品名(任意):商品名
該当する【仕入コード】をクリック
ケース詳細画面の内容を確認のうえ【支払いを確定する】ボタンをクリック
【支払方法】を選択肢より指定し【支払日】を入力のうえ、【確定】ボタンをクリックして確定します。
※詳細は「■入庫と同時に支払いを行う場合」の「➁支払い方法・支払い日を指定して確定」を参照ください。
最終的に入庫と支払いが完了しているケースは、次のようなステータス表示となります。
経理上、仕入商品は買掛で処理されているケースが多々あります。
買掛に該当するケースは、入庫が『完了』し、支払いが『未支払い』の状態です。
【一般仕入>ケースリスト】画面の【詳細検索】より検索のうえ、データを出力して金額など詳細の確認を行います。
詳細検索には、次のように入力します。
例)
2025年6月一般仕入より入庫確定し、未支払いのケースの場合(2025年7月2日時点)
ステータス:『入庫完了』
支払いステータス:『未支払い』
仕入確定日:2025年6月1日~2025年6月30日(『先月』ボタンをクリックして反映可)
【詳細検索】を指定後に【検索】ボタンをクリックすると該当ケースが表示されます。
Excelデータ出力する場合
【仕入コード】の左側にチェックをつけ、【全〇件一括操作】より【エクスポート(ケース)】をクリックのうえ出力します。
ケース毎の支払い情報を出力する場合は、【エクスポート(ケース)】を指定します。
ケースの商品詳細情報を確認する場合は、【エクスポート(詳細ケース)】を指定します。
なお、ケースを絞り込みしない場合は、全ケース(進行中ケースも含む)の出力できます。
全ケースデータ出力後、Excelのフィルタ機能を使って確認することも可能です。
一般仕入では、取引先から受け取った見積書・請求書・納品書などを、各ケースごとに保管できます。
ケース内の【ファイル】をクリック
【ファイルをアップロード】をクリック
ファイル選択(ファイルの保管場所まで移動のうえ、ファイルを指定し【開く】をクリック)またはファイルをドラッグ&ドロップにより反映
RECOREのコネクターと連携するスキャナー機器を設定済の場合のみ、利用可能です。基本的にはA4サイズで読み取り反映されます。
【スキャナから読み込む】をクリック
操作端末にカメラ機能がある場合のみ、利用可能です。
あらかじめ、端末のカメラ機能のアクセル許可をオンにするなど利用可能な状態へ設定してください。
【画像を撮影】をクリックし、起動したカメラで撮影することでデータが反映されます。
保存したファイルは以下のように表示されます。
【一般仕入】メニューから【ケースリスト】を開く
【ケースリスト】画面では、最新の販売ケースが一番上に表示されています。
【仕入コード】【ケースメモ】【会員氏名】などから検索が可能です。
【詳細検索】より検索条件を入力し【Enter】キーをクリック(または【検索】クリック)
以下を指定のうえ、【検索】ボタンをクリック
ステータス:完了
支払いステータス:支払い済み
支払日:『先月』
該当【仕入コード】をクリックして、ケースの詳細画面を開く
ケースの詳細画面より内容を確認できます。
画面右上にある【全●件を一括操作】より出力します。
それぞれの出力方法や項目については、各ガイドを参照ください。
▼【エクスポート(旧ケース・旧ケース詳細)】より出力する場合(2026年1月19日廃止予定)
旧ケースは、各ケース単位の情報(決済金種・支払い金額など)が表示されます。
旧ケース詳細は、各ケース内の商品情報(商品名・買取単価・数量など)が表示されます。
各種データの出力について
本ガイドでは各メニューより出力できるExcelデータについて解説します。

▼【エクスポート】より出力する場合
新各種データの出力について
本ガイドでは各メニューより出力できるExcelデータについて解説します。

商品を返品時には、こちらの方法で対応します。
なお、仕入確定後に、仕入ケース内容の確定内容を修正することができません。
そのため、金額変更や金種変更、会員呼び出ししていないケースに会員紐づけする場合には、返品操作を行ってください。
【一般仕入】メニューから【ケースリスト】を開く
【ケースリスト】画面では、最新の仕入ケースが一番上に表示されています。
以下のいずれかの方法で検索ください
【ケースリスト】画面より【仕入コード】【ケースメモ】【会員氏名】などから検索します。
【詳細検索】より検索条件を入力し【Enter】キーをクリック(または【検索】クリック)
該当【仕入コード】をクリックして、ケースの詳細画面を開く
仕入詳細ケースの右下にある【新しい返品を開始】をクリックします。
次のように販売した商品の一覧が返品ケースに表示されます。
【返品数量】を入力し、【返品後処理】には次のいずれかを選択します。
【返品数量】や【返品金額】を確認のうえ、間違いなければ【返品を確定する】ボタンをクリックにより商品が返品されます。
【支払いを確定する】ボタンをクリックします。
以下を指定のうえ、【確定】クリックにより支払い受取金額の返金が確定します。
支払方法:当初の支払い方を指定
支払日:返品ケース作成日から現在までの日時指定が可能
なお、返品処理を行われる際には、以下の2点をご留意ください。
・返品金額は、ダッシュボードの仕入日(支払い確定日)、経理レポート:返品完了日に反映
・KPIには、返品内容は反映されません。そのため、返品した商品分はマイナス反映表示されない。また操作の誤りによる再度の買取金額分はデータが追加された状態で表示される
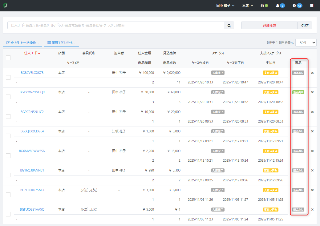
返品あるケースは、【ケースリスト】画面の【返品】項に『返品あり』と表示されます。
該当ケースの【仕入コード】をクリックして詳細画面より確認できます。
【一般仕入>ケースリスト】画面より【履歴エクスポート】をクリック
日付には確認したい【返品完了日】を指定し、【返品ケース】をクリックして出力します。
出力されたデータより、返品された商品に対する金額や点数などを確認することが可能です。
それぞれの出力方法や項目については、各ガイドを参照ください。
▼【返品ケース(旧)】より出力する場合(2026年1月19日廃止予定)
各種データの出力について
本ガイドでは各メニューより出力できるExcelデータについて解説します。

▼【返品ケース】より出力する場合
新各種データの出力について
本ガイドでは各メニューより出力できるExcelデータについて解説します。

解説は以上です。
NO | メニュー | ヘルプガイド |
|---|---|---|
1 | 準備中 | 準備中 |
2 | 準備中 | 準備中 |
以下の内容を添えてRECOREのチャットよりお問合せください。
・操作画面
例:一般仕入>新規仕入
・具体的に実施した操作内容や設定、その後の状況
例:新規仕入より仕入商品を登録し確定したが、ダッシュボードに反映されない